加入購物車成功!
用途與原理
主要技術參數
氣動三通切換閥是用來將單路輸送的物料一分為二的換向器,其設計xj****合理,操作方便合可靠,為管道
正壓氣力輸送提供了一個可靠的換向器。本閥門廣泛應用于火電廠干灰系統灰、水泥、水泥生料、石灰石、煤粉以及其他粉粒狀等固體干燥松散的物料輸送系統。
切換閥的密封元件由耐磨陶瓷材料制成,并經配磨后組合,平面接觸、彈簧加壓,能保持對閥口通道的可靠
密封。
切換閥配有閥用氣動裝置(氣缸),通過它能使閥停在恰當的位置上。
工作壓力:0.3Mpa 供氣壓力:0.4-0.6Mpa
適用溫度:-20℃< t < 150℃ 密封試驗:1.0Mpa

操作與使用
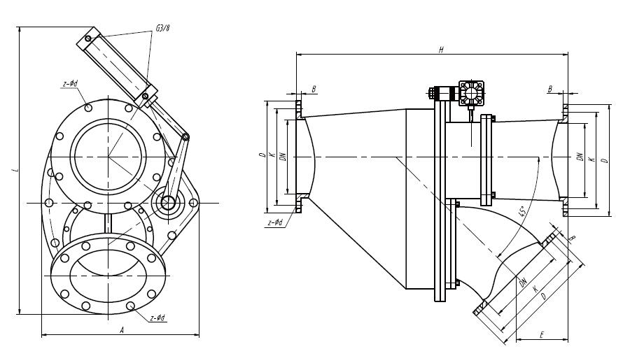
TK(TC)STCE-10C氣動三通耐磨陶瓷切換閥外形尺寸、連接尺寸以及執行器型號表
安裝與調整
為求***佳運轉狀況,在安裝時都應將閥位操縱桿裝在輸送線的頂部或側面。將閥位操縱桿裝在輸送線的頂部***為理想。閥
的密封是通過閥盤和閥座的疊合來實現的。因此,閥的支承應獨立于輸送線,且不應受力于管道裝置,另外,還應該采取措施,
不能因管道受熱膨脹而使閥受力。
切換閥的安裝,應能防止閥關閉支路中的空氣壓力作用于閥盤密封面。見圖所示
閥盤的換位應在系統停止工作(無壓)情況下進行,不要在系統輸送物料時操縱閥門換向,這是因為:
(1)閥盤處于管道壓力之中,在有負荷的情況下使其運動,會加速磨損;
(2)在有負荷的情況下使其移動,會產生高于正常扭矩的負荷而使閥盤無法正常工作。
(3)若在系統輸送物料時閥盤換位,則會在閥的某一路管線中產生失壓而造成物料堆積。當下次重新啟用這一路時,會引起
系統堵管、壓力波動和空氣壓縮機的超載等異常情況。閥盤換位前應將輸送管理清,吹干凈。在系統停下,操縱閥換向時,先轉
動閥位操縱桿數次,然后再將閥盤換到所需位置是十分有利的,這樣既清潔了閥座又延長了閥的壽命。
輸送系統停用期間,定期轉動閥位操縱桿,有利于清除閥座上的灰塵和能凝水等積污,使閥座獲得更長的壽命。
氣動切換閥的自動開啟和關閉是由閥用氣動裝置(氣缸)來完成的。接通電源、氣源,氣缸驅動閥芯換位,使閥停在恰當的位置。
通徑(mm) 連接尺寸外形尺寸及配置執行器(mm)
DN D K H L A B C E F Z-Φd
150 285 240 757 720 470 22 97.5 123 287 8-Φ22
200 340 295 935 925 536 23 115 145 360 8-Φ22
250 395 350 1000 1038 590 25 137.5 150 410 12-Φ22
300 445 400 1070 1140 645 25 165 195 478 12-Φ22








